Article image 2CPX035466R9999

ABB 2CPX035466R9999

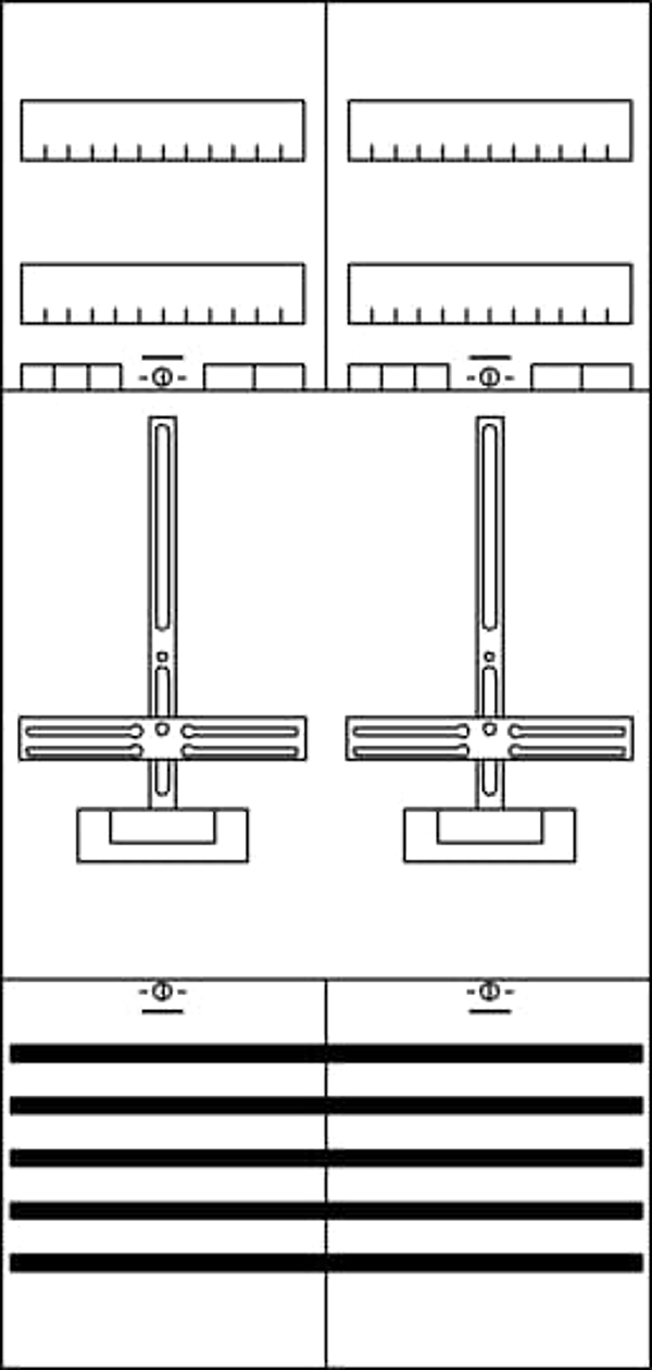
KA1232

KA1232     Meter Board Compl. 7R

Na prośbę. Prześlij nam wiadomość e-mail z zapytaniem o cenę i dostępność.
"ucnguBrctvdgcxgt0eqo"

Opis

Meter panel, suitable for series: ComfortLine A and ComfortLine AD, fully assembled module, with Metering cross, rated current 63 A, dimensions in mm (H x W x D): 1050 x 500 x 160, Metering module pre-wired, Earthing system TN-S, 5-pole, Direct connection, net side compartment, meter space: with busbar, pre-assembled for main switch SH, system side compartment, meter space: with Main branch terminal, Number of meter spaces single tariff 2, Ratchet unit 7 GU, Overall height 3, panel width 2, Space units 168, covers out of Plastic, 90 degree press and turn closure, RAL 7035

Parametry logistyczne

ECCN:
Kraj pochodzenia: DE
EAN: 4011617354666
Waga: 10,92 kg
Długość: 1,06 m
Szerokość: 0,50 m
Wysokość: 0,14 m